LZ1000手動火災報警按鈕立柱
文章來源:www.feimu-hr.com作者:海灣消防公司人氣:1496日期:2019-05-04 07:47:08
LZ1000手動火災報警按鈕立柱
LZ1000手動火災報警按鈕立柱碳鋼材質,與LZ10001手動報警按鈕防雨罩配套使用,適用于在室外安裝本安型手動報警按鈕,不含防雨罩。
LZ10001型防雨罩防護等級IP65,其外形示意圖如圖1-13所示。

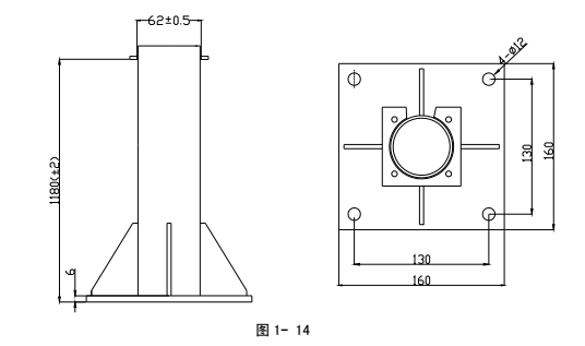
LZ1000型立柱的外形示意圖如圖1-14所示。

LZ10001型防雨罩與LZ1000型立柱配套安裝示意圖如圖1-15所示。

海灣安全技術有限公司主營:海灣消防報警系統銷售報價,消防工程改造,氣體滅火、電氣火災安裝,售后安裝維修,檢測,調試,海灣消防網址:http://www.feimu-hr.com/;海灣服務熱線:18910580194
上一篇:LZ1001手動火災報警按鈕立柱 | 下一篇:DZ-03(Ex)本安型定位底座
此文關鍵字:
LZ1000手動火災報警按鈕立柱
推薦文章
- 室內消火栓動壓不達標該咋辦?
- 【圖解】海灣主機故障現象集合及維修處理經驗分享
- 海灣吸氣式感煙探測器使用場景
- 自動滴水閥漏水處理方法|預作用報警閥自動滴水閥故障
- 語音型聲光能代替消防應急廣播?
- 海灣消防電源模塊故障有哪些
- 海灣消防主機一條回路全部報故障是什么情況
- 海灣消防火災報警控制器按手動鍵盤無反應是哪些情況
- 海灣探測器模塊故障如何進行隔離處理?
- 海灣的總線隔離安全柵可以帶多少個防爆設備?最多可以帶多少個防爆聲光?






蘇公網安備32058102002150號