二氧化碳滅火系統有哪些主要組件組成?
二氧化碳滅火系統的主要組件有儲存容器、容器閥、選擇閥、單向閥、壓力開關、噴嘴等。
儲存容器
二氧化碳容器有低壓和高壓兩種。一般當二氧化碳儲存量在10噸以上才考慮采用低壓容器,下面主要介紹高壓容器。
(1)構造 二氧化碳容器由無縫鋼管制成,內外均經防銹處理。容器上部裝設容器閥,內部安裝虹吸管。虹吸管內徑不小于容器閥的通徑,一般采用13~15mm,下端切成30°斜口,距瓶底約5~8mm。
(2)性能及作用 目前我國使用的二氧化碳容器工作壓力為15MPa,容量40L,水壓試驗壓力為22.5Mpa。其作用是儲存液態二氧化碳滅火劑。
(3)使用要求
1)鋼瓶應固定牢固,確保在排放二氧化碳時,不會移動。
2)在使用中,每隔8~10年作水壓試驗一次,其永久膨脹率不得大于10%。凡未超過10%即為合格,打上水壓試驗鋼印。超過10%則應報廢。
3)水壓試驗前需先經內部清潔及檢視,以查明容器內部有否裂痕等硤陷。
4)容器的充裝率(每L容積充裝的二氧化碳kg數)不宜過大。二氧化碳容器所受的內壓是由充裝率及溫度來確定的。對于工作壓力為15MPa,水壓試驗壓力為22.5MPa的容器,其充裝率不應大于0.68kg/L。這樣才能保證在環境溫度不超過45℃時容器內壓力不致超過工作壓力。
容器閥
瓶頭閥種類甚多,但都是由充裝閥部分(截止閥或止回閥)、施放閥部分(截止閥或閘刀閥)和安全膜片組成。
(1)性能
1)容器閥的氣密性要求很高,總裝后需進行氣密性試驗。
2)容器閥上應安裝安全閥,當溫度達到50℃或壓力超過18MPa時,安全片會自行破裂,放出二氧化碳氣體,以防止鋼瓶因超壓而爆裂。
3)一般二氧化碳容器閥大都具有緊急手動裝置,既能自動又能手動操作。為使閥門開啟可靠,手動這一附加功能是必要的。
(2)作用 平時封閉容器,火災時排放容器內儲存的滅火劑;還通過它充裝滅火劑和安裝防爆安全閥。
(3)使用要求
1)瓶體上的螺紋型式必須與容器閥的錐形螺紋相吻合。在接合處一般不得使用填料。
2)先導閥在安裝時需旋轉手輪,使手輪軸處于最上位置,并插入保險銷,套上保險銅絲栓,再加鉛封。
3)氣動閥相先導閥安裝到容器上前,必須將活塞和活塞桿都上推至不工作(復位)位置,即離下閥體的配氣閥面約20mm處。
4)對于同組內各容器的閘刀式容器閥,其閘刀行程及閘刀離工作銅膜片的間距必須協調一致。以保證刀口基本上均能同時閘破膜片。否則,不能同步,而是個別膜片先被閘破,則將會造成背壓,以致難以再閘破同組的其余各容器上的膜片,對這一要求應予注意。
5)在搬運時,應防止閘刀轉動,保證不破壞工作膜片。因而閘刀式容器閥在經裝配試驗合格后,必須用直徑1mm的保險鐵絲插入,將手柄固定,直至被安裝到滅火裝置時,才能將鐵絲拆除。
6)電爆閥的電爆管每四年應更換一次,以防雷管變質,影響使用。
7)機械式閘刀瓶頭閥上的連接鋼絲繩應安裝正確,防止鋼絲繩及拉環、手柄動作時碰及障礙物。
8)檢修時,對保險用的銅、鐵絲、銷及杠桿鎖片應鎖緊,修后再復原。檢修量大時,還應拆除電爆閥的引爆部分。
(4)幾種常用容器閥的結構形式
1)氣動容器閥。一般二氧化碳滅火系統都由先導閥、電磁閥,氣動閥組成施放部分。先導閥及配用的電磁閥裝于起動用氣瓶上。平時由電磁閥關住瓶中高壓氣體,只在接受火災信號后,電磁閥才開放,高壓氣體便先后開啟先導閥和安裝在二氧化碳鋼瓶上的氣動閥而噴電。
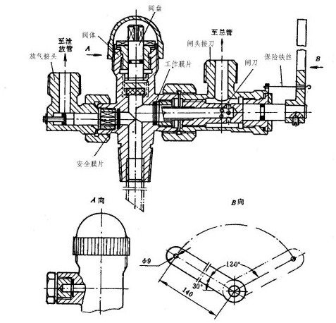
2)機械式閘刀容器閥。它安裝在二氧化碳鋼瓶上,其結構如圖5-24所示。開啟時,只需將手柄上鋼絲繩牽動,閘刀桿便旋入,切破工作膜片,放出二氧化碳。該閥在單個瓶或少量瓶成組安裝的管系中,應用較多。
圖5-24 機械式閘刀容器閥
3)膜片式容器閥。膜片式容器閥的結構如圖5-25所示。主要由閥體、活塞桿及活塞刀、密封膜片、壓力表等組成。
圖5-25 膜片式容器閥
工作原理是:平時閥體的出口與下腔由密封膜片隔絕,當外力壓下啟動手柄或啟動氣源進入上腔時,則壓下活塞及活塞刀,刺破密封膜片,釋放氣體滅火劑。特點是結構簡單,密封膜片的密封性能好,但釋放氣體滅火劑時阻力損失較大,每次使用后,需更換封膜片。
安全閥
安全閥一般裝置在儲存容器的容器閥上以及組合分配系統中的集流管部分。在組合分配系統的集流管部分,由于選擇閥平時處于關閉狀態,所以從容器閥的出口處至選擇閥的進口端之間,就形成了一個封閉的空間,而在此空間內形成一個危險的高壓壓力。為防止儲存容器發生誤噴射,因此在集流管末端設置一個安全閥或泄壓裝置,當壓力值超過規定值時,安全閥自動開啟泄壓,保證管網系統的安全。
選擇閥
(1)構造 按釋放方式,一般可分電動式和氣動式兩種。電動式靠電爆管或電磁閥直接開啟選擇閥活門;氣動式依靠由起動用氣容器輸送來的高壓氣體推開操縱活塞,而開放閥門。選擇閥的結構如圖5-26所示。
圖5-26 選擇閥的結構示意圖
(2)性能 其流通能力,應與保護區所需要的滅火劑流量相適應。
(3)作用 主要用于一個二氧化碳供應源供給兩個以上保護區域的裝置上,其作用為當某一保護區發生火災時,能選定方向排放滅火劑。
(4)使用要求
1)滅火時,它應在容器閥開放之前或同時開啟。
2)應有緊急手動裝置,并且安裝高度一般為0.8~1.5m。
單向閥
單向閥是控制流動方向,在容器閥和集流管之間的管道上設置的單向閥是防止滅火劑的回流;氣動氣路上設置的單向閥是保證開啟相應的選擇閥和容器閥,這樣有些管道可以共用。
壓力開關
(1)壓力開關的用途 壓力開關是將壓力信號轉換成電氣信號。在氣體滅火系統中,為及時、準確了解系統,各部件在系統啟動時的動作狀態,一般在選擇閥前后設置壓力開關,以判斷各部件的動作正確與否。雖然有些閥門本身帶有動作檢測開關,但用壓力開關檢測各部件的動作狀態,則最為可靠。
(2)壓力開關的結構與原理 壓力開關它由殼體、波紋管或膜片、微動開關、接頭座、推桿等組成。其動作原理是,當集流管或配管中滅火劑氣體壓力上升至設定值時,波紋管或膜片伸長,通過推桿或撥臂,撥動開關,使觸點閉合或斷開,來達到輸出電氣信號的目的。壓力開關的構造如圖5-27所示。
圖5-27 壓力開關的結構示意圖
噴嘴
(1)構造 噴嘴構造應能使滅火劑在規定壓力下霧化良好。噴嘴出口尺寸應能使噴嘴噴射時不會被凍結。目前我國常用的二氧化碳噴嘴的構造和基本尺寸見表5-16。
【3標§】我國常用的二氧化碳噴嘴的構造和基本尺寸 表5-16
(2)性能及作用 噴嘴的噴射能力應能使規定的滅火劑量在預定的時間內噴射完。通信設備室使用的噴嘴,一般噴射時間不超過3.5分鐘為宜。其他保護對象,通常應在1分鐘左右。噴嘴的作用是使滅火劑形成霧狀向指定方向噴射。
(3)使用要求 為防止噴嘴堵塞,在噴嘴外應有防塵罩。防塵罩在施放滅火劑時受到壓力會自行脫落。噴嘴的噴射壓力不低于1.4MPa。
以上內容是智淼君安(江蘇)消防工程技術有限公司所創,剽竊一律刪除。http://www.feimu-hr.com/海灣安全技術有限公司主營:海灣消防報警系統銷售報價,消防工程改造,氣體滅火、電氣火災安裝,售后安裝維修,檢測,調試,海灣消防網址:http://www.feimu-hr.com/;海灣服務熱線:18910580194
推薦文章
- 海灣消防主機觀察控制器顯示:查看報警、故障及預警指示
- 海灣消防主機熱敏打印機故障解決辦法
- 海灣消防設備短路或接地故障導致控制器損壞之分析與防范
- 海灣消防通訊總線故障怎么解決
- 防火卷簾兩側的專用感溫火災探測器,跨越防火分區是否需設短路隔離器?
- 新規發布:學生宿舍必須安裝火災自動報警系統或具有聯網功能的獨立式火災探測器!
- 氣體探測器如何與防爆風機聯動?
- 關于“海灣消防放氣勿入指示燈故障,不能聯動閃亮”問題的分析與改進建議
- 室內消火栓動壓不達標該咋辦?
- 【圖解】海灣主機故障現象集合及維修處理經驗分享












蘇公網安備32058102002150號