海灣防爆手動火災報警按鈕J-SAM-GST9116_安裝接線圖
海灣防爆手動火災報警按鈕J-SAM-GST9116_安裝接線圖
一,結構特征、安裝與布線
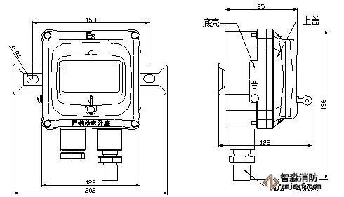
按鈕外形圖如圖1- 57所示:
J-SAM-GST9116手動火災報警按鈕外形尺寸圖

報警按鈕的安裝采用壁掛安裝和立柱安裝兩種方式。
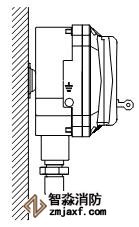
壁掛安裝方式示意圖如圖1- 58所示:
J-SAM-GST9116手動火災報警按鈕壁掛安裝圖1 J-SAM-GST9116手動火災報警按鈕壁掛安裝圖2

報警按鈕主體分為底殼和上蓋兩部分,安裝前,應首先將上蓋上的4個固定螺栓擰下,將上蓋小心的從底殼上取下來。
將掛板與底殼用M5×8的十字槽盤頭螺釘連接牢固,然后使用M8×60的膨脹螺栓將報警按鈕的底殼和掛板直接固定在墻壁上。
立柱安裝方式示意圖如圖1- 59所示:
J-SAM-GST9116手動火災報警按鈕立柱外形安裝圖

報警按鈕上蓋線路板上配有接線端子,對外接線端子示意圖如圖1- 60所示:

其中:
Z1、Z2:編碼模式:接信號總線,無極性;非編碼模式:接DC24V,無極性。
Z3、Z4:用于Z1、Z2輸入信號的分線輸出。
K1、K2:無源常開輸出端子,當報警按鈕按下時,輸出觸點閉合,可直接控制外部設備。可根據實際情況選擇是否使用。
接線時應將電纜線按順序接入接線端子上。
接好線后,將上蓋蓋到底殼上,然后將上蓋與底殼用M5×10的沉頭內六角螺釘固定即完成安裝。
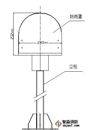
本報警按鈕室外安裝時可配用LZ10011型防雨罩與LZ1001型立柱。LZ10011型防雨罩可采用壁掛式安裝,也可與LZ1001型立柱配套安裝。
LZ10011型防雨罩壁掛安裝時需配用掛件進行安裝,壁掛安裝示意圖如圖1- 61所示。
LZ10011型防雨罩外形尺寸圖

LZ10011型防雨罩與LZ1001型立柱配套安裝示意圖如圖1- 62所示。
LZ10011型防雨罩與LZ1001型立柱配套安裝示意圖

LZ1001型立柱外形示意圖如圖1- 63所示。

布線要求:
本報警按鈕應用于ⅡB環境中,電纜引入裝置為橡膠密封圈型式。將截面積≥1mm2、外徑為φ8mm-φ10mm的屏蔽阻燃雙絞電纜穿過金屬墊圈和橡膠密封圈,將橡膠密封圈、金屬墊圈連同電纜一同旋進報警按鈕殼體,用扳手將密封圈壓緊對絲旋緊。
本報警按鈕也可應用于ⅡC環境中,但需使用隔爆型電纜密封套(填料函)作為引入裝置,安裝時,必須用填料函將電纜密封套填充,填充材料及填充方式符合防爆相關規定。
以上內容是智淼君安(江蘇)消防工程技術有限公司所創,剽竊一律刪除。http://www.feimu-hr.com/
海灣安全技術有限公司主營:海灣消防報警系統銷售報價,消防工程改造,氣體滅火、電氣火災安裝,售后安裝維修,檢測,調試,海灣消防網址:http://www.feimu-hr.com/;海灣服務熱線:18910580194
推薦文章
- 海灣消防主機觀察控制器顯示:查看報警、故障及預警指示
- 海灣消防主機熱敏打印機故障解決辦法
- 海灣消防設備短路或接地故障導致控制器損壞之分析與防范
- 海灣消防通訊總線故障怎么解決
- 防火卷簾兩側的專用感溫火災探測器,跨越防火分區是否需設短路隔離器?
- 新規發布:學生宿舍必須安裝火災自動報警系統或具有聯網功能的獨立式火災探測器!
- 氣體探測器如何與防爆風機聯動?
- 關于“海灣消防放氣勿入指示燈故障,不能聯動閃亮”問題的分析與改進建議
- 室內消火栓動壓不達標該咋辦?
- 【圖解】海灣主機故障現象集合及維修處理經驗分享






蘇公網安備32058102002150號